| Availability: | |
|---|---|
| Quantity: | |
DN12~DN80
Fustar
83071000
Vibration Absorbers
Size DN10(3/8”)- DN80(3”)
The vibration absorber is one of our hot products. The vibration absorber is designed to be installed in the suction and exhaust pipes of air conditioning and refrigeration systems to reduce vibration in the transmission of compressor-induced vibration through system piping. So the vibration absorber can also increase the service life of suction and exhaust pipes.The vibration absorber is made of deep pitch corrugated tubing for increasing tube flexibility and vibration absorption, covered by high tensile stainless steel mesh for superior strength. Vibration absorbers won’t be damaged easily. The corrugated tubing and stainless steel mesh reinforced by ferrules at each end, and the copper tube connected to internal thread is welded by high temperature brazed alloys. The vibration absorber has good quality. To coordinate the use of vibration absorbers, you can think about vibration absorbing flexible pipes, can also contrast with stainless steel vibration absorber, vaf vibration absorber and single sphere rubber vibration absorber.
Construction and Specifications
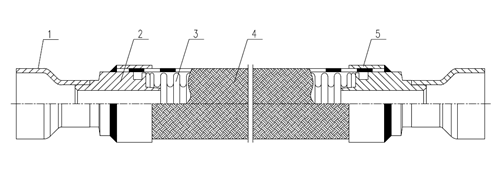
Vibration absorber drawing![]() | |||
| NO.S | ITEMS | MATERIALS (Stainless steel) | REMARK |
| 1 | Copper Joint | Copper/SS304 /carbon steel | ------------- |
| 2 | Welding Fitting | SS304 | ------------- |
| 3 | Corrugated Pipe | SS304/SS316/SS321 | Annular/Helical corrugation |
| 4 | Outer Braids | SS304/SS316L | no/1/2/3 layer |
| 5 | Jacket | SS304 | -------------- |
Advantages
Total system vibration isolation/vibration reductions eliminates noise&annoyling chatter.
Removes or reduces stress from mechanical equipment.
Compensates for off-set in misaligned piping.
Using two or more unites it will eliminate multi-planar vibration.
Stainless steel hose&braid preclude galvanic corrosion in all copper piping systems.
Available Options Upon Request
Custom Lengths
Higher Working Pressures
Protective Braid Covering
Special Cleaning/Package
Stainless Steel Hose&Braid Construction
Vibration Absorbers
Size DN10(3/8”)- DN80(3”)
The vibration absorber is one of our hot products. The vibration absorber is designed to be installed in the suction and exhaust pipes of air conditioning and refrigeration systems to reduce vibration in the transmission of compressor-induced vibration through system piping. So the vibration absorber can also increase the service life of suction and exhaust pipes.The vibration absorber is made of deep pitch corrugated tubing for increasing tube flexibility and vibration absorption, covered by high tensile stainless steel mesh for superior strength. Vibration absorbers won’t be damaged easily. The corrugated tubing and stainless steel mesh reinforced by ferrules at each end, and the copper tube connected to internal thread is welded by high temperature brazed alloys. The vibration absorber has good quality. To coordinate the use of vibration absorbers, you can think about vibration absorbing flexible pipes, can also contrast with stainless steel vibration absorber, vaf vibration absorber and single sphere rubber vibration absorber.
Construction and Specifications
Vibration absorber drawing![]() | |||
| NO.S | ITEMS | MATERIALS (Stainless steel) | REMARK |
| 1 | Copper Joint | Copper/SS304 /carbon steel | ------------- |
| 2 | Welding Fitting | SS304 | ------------- |
| 3 | Corrugated Pipe | SS304/SS316/SS321 | Annular/Helical corrugation |
| 4 | Outer Braids | SS304/SS316L | no/1/2/3 layer |
| 5 | Jacket | SS304 | -------------- |
Advantages
Total system vibration isolation/vibration reductions eliminates noise&annoyling chatter.
Removes or reduces stress from mechanical equipment.
Compensates for off-set in misaligned piping.
Using two or more unites it will eliminate multi-planar vibration.
Stainless steel hose&braid preclude galvanic corrosion in all copper piping systems.
Available Options Upon Request
Custom Lengths
Higher Working Pressures
Protective Braid Covering
Special Cleaning/Package
Stainless Steel Hose&Braid Construction
Home | Products | About Us | Certificates | News | Application | Contact Us | Hot products