| Availability: | |
|---|---|
| Quantity: | |
DN100~DN1600
Fustar
83071000
Pulverized Coal Pipeline Used Expansion Joint
Our company designed and developed the most ideal corrugated compensator for the pulverized coal pipeline based on the United States standard <<EJMA>>. Apart from the ring plate and the bellows, the expansion joint fittings are all made of ceramic composite steel pipe,the wear resistance equivalent to 30 times more than ordinary steel pipes,and they can be used under 900℃ for a long time.The seal of the pulverized coal pipeline used expansion joint adopts the coincidence combination of miniature stainless steel ball and stainless steel silk cloth, which realizes the long-term safety and reliable operation of the pulverized coal pipeline completely. The components for compensation are stainless steel bellows or fabric fiber cloth, which not only can be axially displaced, but also can be laterally displaced arbitrarily.The expansion joint can meet the requirements of various types of units.
Coal Duct Expansion Joints is consisted by one mid pipe and double same convolutions bellows combined with limited tie rods, supports or end plates and nuts. Because this type expansion joints can not afford the pressure thrust, so all pressure thrust must be afford by the ducts’ fixed supports. Our designed expansion joints can avoid convolutions deposited by ducts by our advanced design completely, and we can also design and produce high temperature resistance, wear resistant (wear resistant inner sleeves/ceramic) coal duct expansion joints.
The pulverized coal expansion joints are widely applied for power stations, water works, sewage treatment plants, chemical plants and cement plants.
|
|
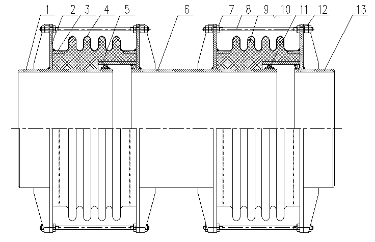
Pulverized Coal Pipeline Used Expansion Joints | Structure Diagram |
NO | ITEMS | MATERIALS |
| ITEMS | MATERIALS |
1 | Connection tube | Carbon steel | 7&8 | Nut/Stud | Carbon steel |
2 | Ring plate | Carbon steel | 9 | Stuffing | Carbon steel |
3 | Short connection tube | Carbon steel | 10 | Steel wire | SS304 |
4 | Bellow | SS304/SS316L/SS321 | 11 | Shield ring | Carbon steel |
5 | Inner sleeve | SS304/Carbon steel | 12 | Spheric washer | Carbon steel |
6 | Middle connection tube | Carbon steel | 13 | End connection tube |
Technique Parameter
Normal Diameter | Conv. No.s | Axial | Lateral
|
Radial Max. Outer Diameter | ||||
Compen- sation | Stiffness | Compen- sation | Stiffness | Compen- sation | Stiffness | |||
mm | n | mm | N/mm | Length 2000 | Length 3000 | mm | ||
300 | 8 | 140 | 193 | 300 | 9 | 500 | 3 | 540 |
12 | 220 | 129 | 300 | 6 | 500 | 2 | ||
350 | 8 | 140 | 215 | 300 | 12 | 500 | 4 | 580 |
12 | 220 | 143 | 300 | 8 | 500 | 3 | ||
400 | 8 | 140 | 236 | 300 | 16 | 500 | 6 | 687 |
12 | 220 | 158 | 300 | 6 | 500 | 4 | ||
450 | 8 | 200 | 302 | 300 | 25 | 500 | 9 | 700 |
12 | 300 | 202 | 300 | 16 | 500 | 6 | ||
500 | 8 | 200 | 321 | 300 | 31 | 500 | 11 | 806 |
12 | 300 | 214 | 300 | 20 | 500 | 7 | ||
600 | 8 | 200 | 352 | 300 | 45 | 500 | 16 | 920 |
12 | 300 | 235 | 300 | 29 | 500 | 11 | ||
Pulverized Coal Pipeline Used Expansion Joint
Our company designed and developed the most ideal corrugated compensator for the pulverized coal pipeline based on the United States standard <<EJMA>>. Apart from the ring plate and the bellows, the expansion joint fittings are all made of ceramic composite steel pipe,the wear resistance equivalent to 30 times more than ordinary steel pipes,and they can be used under 900℃ for a long time.The seal of the pulverized coal pipeline used expansion joint adopts the coincidence combination of miniature stainless steel ball and stainless steel silk cloth, which realizes the long-term safety and reliable operation of the pulverized coal pipeline completely. The components for compensation are stainless steel bellows or fabric fiber cloth, which not only can be axially displaced, but also can be laterally displaced arbitrarily.The expansion joint can meet the requirements of various types of units.
Coal Duct Expansion Joints is consisted by one mid pipe and double same convolutions bellows combined with limited tie rods, supports or end plates and nuts. Because this type expansion joints can not afford the pressure thrust, so all pressure thrust must be afford by the ducts’ fixed supports. Our designed expansion joints can avoid convolutions deposited by ducts by our advanced design completely, and we can also design and produce high temperature resistance, wear resistant (wear resistant inner sleeves/ceramic) coal duct expansion joints.
The pulverized coal expansion joints are widely applied for power stations, water works, sewage treatment plants, chemical plants and cement plants.
|
|
Pulverized Coal Pipeline Used Expansion Joints | Structure Diagram |
NO | ITEMS | MATERIALS |
| ITEMS | MATERIALS |
1 | Connection tube | Carbon steel | 7&8 | Nut/Stud | Carbon steel |
2 | Ring plate | Carbon steel | 9 | Stuffing | Carbon steel |
3 | Short connection tube | Carbon steel | 10 | Steel wire | SS304 |
4 | Bellow | SS304/SS316L/SS321 | 11 | Shield ring | Carbon steel |
5 | Inner sleeve | SS304/Carbon steel | 12 | Spheric washer | Carbon steel |
6 | Middle connection tube | Carbon steel | 13 | End connection tube |
Technique Parameter
Normal Diameter | Conv. No.s | Axial | Lateral
|
Radial Max. Outer Diameter | ||||
Compen- sation | Stiffness | Compen- sation | Stiffness | Compen- sation | Stiffness | |||
mm | n | mm | N/mm | Length 2000 | Length 3000 | mm | ||
300 | 8 | 140 | 193 | 300 | 9 | 500 | 3 | 540 |
12 | 220 | 129 | 300 | 6 | 500 | 2 | ||
350 | 8 | 140 | 215 | 300 | 12 | 500 | 4 | 580 |
12 | 220 | 143 | 300 | 8 | 500 | 3 | ||
400 | 8 | 140 | 236 | 300 | 16 | 500 | 6 | 687 |
12 | 220 | 158 | 300 | 6 | 500 | 4 | ||
450 | 8 | 200 | 302 | 300 | 25 | 500 | 9 | 700 |
12 | 300 | 202 | 300 | 16 | 500 | 6 | ||
500 | 8 | 200 | 321 | 300 | 31 | 500 | 11 | 806 |
12 | 300 | 214 | 300 | 20 | 500 | 7 | ||
600 | 8 | 200 | 352 | 300 | 45 | 500 | 16 | 920 |
12 | 300 | 235 | 300 | 29 | 500 | 11 | ||
Home | Products | About Us | Certificates | News | Application | Contact Us | Hot products