| Availability: | |
|---|---|
| Quantity: | |
DN100~DN7000
Fustar
73072900
Fabric Round Expansion Joint
|
|
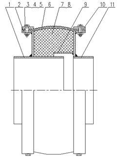
Fabric Round Expansion Joints | Structure Diagram |
The round non-metallic compensator is a flexible component consisting of a composite non-metal mateiral,two pipes (or flanges) connected to adjacent pipeline and insulation materials.It is mainly used to compensate for the displacement caused by temperature, mechanical vibration, and foundation sinking in pipelines and equipment systems that transport micro-pressure dust gas, smoke, gas, and other gases.Pressure range:≤0.05Mpa;Temperature range: low temperature type ≤200°C, high temperature type ≤ 800°C; Diameter range: 150~7000MM.
NO | ITEMS | MATERIALS |
| ITEMS | MATERIALS |
1 | Long connection tube | Carbon steel | 7 | Filler | Carbon steel |
2 | Ring plate | Carbon steel | 8 | Steel wire | SS304 |
3&4 | Screw bolt/Nut | Carbon steel | 9 | Inner sleeve | SS304/Carbon steel |
5 | Gasket | Carbon steel | 10 | Press plate | Carbon steel |
6 | Astragal | Rubber composite | 11 | Short connection tube | Carbon steel |
Technique Parameter
Low Temperature Round Fabric Expansion Joint
Design Pressure P=0.049Mpa Design Temperature T=200℃
Normal Diameter | Axial Compensation | Effective Area | Welding Tube Outer Size | Flange Outer Size | Total Length | Total Width | |
mm | Axial | Lateral | cm² | mm | mm | mm | mm |
500 | 105 | 16 | 4776 | 530 | 650 | 520 | 920 |
550 | 105 | 16 | 5150 | 560 | 680 | 520 | 950 |
600 | 105 | 16 | 6079 | 630 | 750 | 520 | 1020 |
700 | 105 | 16 | 7386 | 720 | 840 | 520 | 1110 |
800 | 105 | 16 | 9654 | 820 | 940 | 520 | 1210 |
900 | 105 | 16 | 10381 | 920 | 1080 | 520 | 1310 |
1000 | 115 | 15 | 12861 | 1020 | 1180 | 550 | 1420 |
* There’re some part of the parameters above for referance,the low temperature expansion joint diameter available from DN150 to DN7000MM
.
High Temperature Round Fabric Expansion Joint
Design Pressure P=0.049Mpa Design Temperature T=800℃
Normal Diameter | Axial Compensation | Effective Area | Welding Tube Outer Size | Flange Outer Size | Total Length | Total Width | |
mm | Axial | Lateral | cm² | mm | mm | mm | mm |
500 | 105 | 16 | 7388 | 530 | 650 | 520 | 1140 |
550 | 105 | 16 | 8167 | 560 | 680 | 520 | 1170 |
600 | 105 | 16 | 9326 | 630 | 750 | 520 | 1240 |
700 | 105 | 16 | 10930 | 720 | 840 | 520 | 1330 |
800 | 105 | 16 | 12861 | 820 | 940 | 520 | 1430 |
900 | 105 | 16 | 14949 | 920 | 1080 | 520 | 1530 |
1000 | 115 | 15 | 17427 | 1020 | 1180 | 550 | 1640 |
Structure Features
1.Compensation for thermal expansion, can compensate for the multi-dimensional direction,much better
than the one-dimensional only compensation of metal expansion joints;
2. The system error is inevitable in the process of pipe connections, fiber expansion energy can eliminate installation error better;
3. Fiber fabrics,heat insulation cotton has a sound absorption, isolating vibration transmission function itself,it can reduce noise and vibration effectively of boilers, fans and other systems;
4. The main material is the fabric,inability to transfer, fiber expansion joint simplify the design to avoid the use of large bearings,save a lot of materials and labor;
5. The materials of fluoride, silicone materials with good high temperature and corrosion resistance;
6. Good sealing performance,perfect production equipment system, fiber expansion joint is almost no leakage.
Structure of Fabric Layers
The number of layers or plies is dependent upon the design conditions and we usually limit non-metallic expansion joints to five or more layers.
1st ------ 0.15mm stainless steel wire mesh (outer layer)
2nd ------1.2mm silicone fabric
3rd ------0.18mm thickness PTFE cloth
4th------0.9mm thickness glass fiber
5th------10.0mm thickness needle felted carpet(inner layer)
6th------Anumina-silicate ceramic fiber between inner sleeve and fabric belt (when it is high temperature)
Fabric Round Expansion Joint Application
• Thermal power plants: (1) Steam turbine (2) Boilers (3) Dedusting;
• Cement plant;
• Steel mills, furnaces, incinerators;
• Nuclear power plants;
• Air delivery system;
• Glass and mineral wool industry;
• Petrochemical enterprises;
• Air and gas cleaning plant;
• Blower;
• Aluminum and Carbon Factory.
Fabric Round Expansion Joint
|
|
Fabric Round Expansion Joints | Structure Diagram |
The round non-metallic compensator is a flexible component consisting of a composite non-metal mateiral,two pipes (or flanges) connected to adjacent pipeline and insulation materials.It is mainly used to compensate for the displacement caused by temperature, mechanical vibration, and foundation sinking in pipelines and equipment systems that transport micro-pressure dust gas, smoke, gas, and other gases.Pressure range:≤0.05Mpa;Temperature range: low temperature type ≤200°C, high temperature type ≤ 800°C; Diameter range: 150~7000MM.
NO | ITEMS | MATERIALS |
| ITEMS | MATERIALS |
1 | Long connection tube | Carbon steel | 7 | Filler | Carbon steel |
2 | Ring plate | Carbon steel | 8 | Steel wire | SS304 |
3&4 | Screw bolt/Nut | Carbon steel | 9 | Inner sleeve | SS304/Carbon steel |
5 | Gasket | Carbon steel | 10 | Press plate | Carbon steel |
6 | Astragal | Rubber composite | 11 | Short connection tube | Carbon steel |
Technique Parameter
Low Temperature Round Fabric Expansion Joint
Design Pressure P=0.049Mpa Design Temperature T=200℃
Normal Diameter | Axial Compensation | Effective Area | Welding Tube Outer Size | Flange Outer Size | Total Length | Total Width | |
mm | Axial | Lateral | cm² | mm | mm | mm | mm |
500 | 105 | 16 | 4776 | 530 | 650 | 520 | 920 |
550 | 105 | 16 | 5150 | 560 | 680 | 520 | 950 |
600 | 105 | 16 | 6079 | 630 | 750 | 520 | 1020 |
700 | 105 | 16 | 7386 | 720 | 840 | 520 | 1110 |
800 | 105 | 16 | 9654 | 820 | 940 | 520 | 1210 |
900 | 105 | 16 | 10381 | 920 | 1080 | 520 | 1310 |
1000 | 115 | 15 | 12861 | 1020 | 1180 | 550 | 1420 |
* There’re some part of the parameters above for referance,the low temperature expansion joint diameter available from DN150 to DN7000MM
.
High Temperature Round Fabric Expansion Joint
Design Pressure P=0.049Mpa Design Temperature T=800℃
Normal Diameter | Axial Compensation | Effective Area | Welding Tube Outer Size | Flange Outer Size | Total Length | Total Width | |
mm | Axial | Lateral | cm² | mm | mm | mm | mm |
500 | 105 | 16 | 7388 | 530 | 650 | 520 | 1140 |
550 | 105 | 16 | 8167 | 560 | 680 | 520 | 1170 |
600 | 105 | 16 | 9326 | 630 | 750 | 520 | 1240 |
700 | 105 | 16 | 10930 | 720 | 840 | 520 | 1330 |
800 | 105 | 16 | 12861 | 820 | 940 | 520 | 1430 |
900 | 105 | 16 | 14949 | 920 | 1080 | 520 | 1530 |
1000 | 115 | 15 | 17427 | 1020 | 1180 | 550 | 1640 |
Structure Features
1.Compensation for thermal expansion, can compensate for the multi-dimensional direction,much better
than the one-dimensional only compensation of metal expansion joints;
2. The system error is inevitable in the process of pipe connections, fiber expansion energy can eliminate installation error better;
3. Fiber fabrics,heat insulation cotton has a sound absorption, isolating vibration transmission function itself,it can reduce noise and vibration effectively of boilers, fans and other systems;
4. The main material is the fabric,inability to transfer, fiber expansion joint simplify the design to avoid the use of large bearings,save a lot of materials and labor;
5. The materials of fluoride, silicone materials with good high temperature and corrosion resistance;
6. Good sealing performance,perfect production equipment system, fiber expansion joint is almost no leakage.
Structure of Fabric Layers
The number of layers or plies is dependent upon the design conditions and we usually limit non-metallic expansion joints to five or more layers.
1st ------ 0.15mm stainless steel wire mesh (outer layer)
2nd ------1.2mm silicone fabric
3rd ------0.18mm thickness PTFE cloth
4th------0.9mm thickness glass fiber
5th------10.0mm thickness needle felted carpet(inner layer)
6th------Anumina-silicate ceramic fiber between inner sleeve and fabric belt (when it is high temperature)
Fabric Round Expansion Joint Application
• Thermal power plants: (1) Steam turbine (2) Boilers (3) Dedusting;
• Cement plant;
• Steel mills, furnaces, incinerators;
• Nuclear power plants;
• Air delivery system;
• Glass and mineral wool industry;
• Petrochemical enterprises;
• Air and gas cleaning plant;
• Blower;
• Aluminum and Carbon Factory.
Home | Products | About Us | Certificates | News | Application | Contact Us | Hot products