| Availability: | |
|---|---|
| Quantity: | |
|
| |
DN150-300MM
Fustar
83071000
DN150-300MM ANSI B16.5 150LBS SS304 Flanged Metal Expansion Joint
The SS304 flanged metal expansion joints offer a cost effective alternative to other expansion devices while optimizing the productive life of a piping system.The SS304 flanged expansion joints are usually used to absorb movement,relieve system strain due to thermal change,load stress,pumping surges,wear or settling,reduce mechanical noise,compensate for misalignment ,eliminate electrolysis between dissimilar metals etc.
Flanges Connection Introduction
It is very common to apply any standard and shape flanges to any size metal expansion joints for simple installation and replacement. We can follow ANSI, DIN, JIS,BS and GB standard of flanges on different pressure grade, pressure from 0-5.0Mpa and diameter from DN15-DN8000mm in all different material following customers’ requirements. Any other special shape flanges can also be customizable.
Flange Type : Welding neck flange
Flat flange for welding
Threaded flange
Blind flange
Lapped flange/Plain collar
Lapped joint(short stub end)
Slip-on flange
Socket welding flange
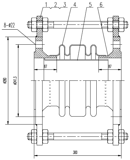
Drawing of DN150-300MM Flanged Metal Expansion Joint

Structure Datas of DN150-300MM Metal Expansion Joint
1 Ear plate: thickness: 12mm ,stainless steel SS304
2 Nut: GB/T41-2000,stainless steel SS304
3 Tie Rod: M16-400,stainless steel SS304
4 Bellows: inner size of 159mm,wall thickness 0.8mm ,stainless steel SS304
5 Inner sleeve: inner diameter of 135mm,wall thickness 1.0mm,total length of 275mm,stainless steel SS304
6 Welding neck flange:WN-150RF,ANSI B16.5,150#,stainless steel SS304
How to Order Flanged Metal Expansion Joint
When you need flanged connection metal expansion joint,pls let us know detail requirements of the metal expansion joint before our quotation as follow:
• Normal diameter
• Total length
• Flange standard(ANSI, DIN , BS, JIS or GB) or non-standard
• Flange pressure standard
• Material of inner bellows and flanges
• Working pressure
• Working temperature
• Movements
Application
The flanged metal expansion joints are widely applied to industrial equipment manufacture and engineering pipe connection of aerospace, marine, petrochemical, refining, power plants, temperature control, information industry, heating, to effectively ensure the high safety performance of transporting the toxic, flammable and explosive media in the pressure pipeline, and to avoid the leak pollution causing the pollution of marine, sky, plants and other environment pollution. The product characteristics are thermostability, high pressure resisting, corrosion resisting, fatigue resisting, resistant to use.
DN150-300MM ANSI B16.5 150LBS SS304 Flanged Metal Expansion Joint
The SS304 flanged metal expansion joints offer a cost effective alternative to other expansion devices while optimizing the productive life of a piping system.The SS304 flanged expansion joints are usually used to absorb movement,relieve system strain due to thermal change,load stress,pumping surges,wear or settling,reduce mechanical noise,compensate for misalignment ,eliminate electrolysis between dissimilar metals etc.
Flanges Connection Introduction
It is very common to apply any standard and shape flanges to any size metal expansion joints for simple installation and replacement. We can follow ANSI, DIN, JIS,BS and GB standard of flanges on different pressure grade, pressure from 0-5.0Mpa and diameter from DN15-DN8000mm in all different material following customers’ requirements. Any other special shape flanges can also be customizable.
Flange Type : Welding neck flange
Flat flange for welding
Threaded flange
Blind flange
Lapped flange/Plain collar
Lapped joint(short stub end)
Slip-on flange
Socket welding flange
Drawing of DN150-300MM Flanged Metal Expansion Joint

Structure Datas of DN150-300MM Metal Expansion Joint
1 Ear plate: thickness: 12mm ,stainless steel SS304
2 Nut: GB/T41-2000,stainless steel SS304
3 Tie Rod: M16-400,stainless steel SS304
4 Bellows: inner size of 159mm,wall thickness 0.8mm ,stainless steel SS304
5 Inner sleeve: inner diameter of 135mm,wall thickness 1.0mm,total length of 275mm,stainless steel SS304
6 Welding neck flange:WN-150RF,ANSI B16.5,150#,stainless steel SS304
How to Order Flanged Metal Expansion Joint
When you need flanged connection metal expansion joint,pls let us know detail requirements of the metal expansion joint before our quotation as follow:
• Normal diameter
• Total length
• Flange standard(ANSI, DIN , BS, JIS or GB) or non-standard
• Flange pressure standard
• Material of inner bellows and flanges
• Working pressure
• Working temperature
• Movements
Application
The flanged metal expansion joints are widely applied to industrial equipment manufacture and engineering pipe connection of aerospace, marine, petrochemical, refining, power plants, temperature control, information industry, heating, to effectively ensure the high safety performance of transporting the toxic, flammable and explosive media in the pressure pipeline, and to avoid the leak pollution causing the pollution of marine, sky, plants and other environment pollution. The product characteristics are thermostability, high pressure resisting, corrosion resisting, fatigue resisting, resistant to use.
Home | Products | About Us | Certificates | News | Application | Contact Us | Hot products